The high-voltage servo controller is a precision electronic device engineered to control the position, speed, and torque of high-voltage servo motors. It ensures precise motion control in applications such as industrial robots, Computer Numerical Control (CNC) machines, inkjet printing, laser cutting, and automated production lines. By providing exceptional performance, rapid response, and optimized energy conversion, it guarantees the stable operation of servo systems, driving the evolution of smart manufacturing and Industry 4.0.
As industrial automation continues to advance with ongoing technological innovations, the demand for high-voltage servo controllers is expected to grow. These controllers are evolving toward increased efficiency, intelligence, and digitalization, becoming a cornerstone in the intelligent transformation of industrial automation and demonstrating significant market potential.
Geehy's 400W EtherCAT bus-type high-voltage servo controller solution integrates the G32R501 high-performance real-time control MCU, offering high sensitivity, efficient computing, and precise control. It features a dual-core parallel processing architecture and a fully open servo design, supporting both Modbus and EtherCAT bus protocols. This allows flexible configuration of over 400 servo parameters, addressing a wide array of customized industrial applications.

400W EtherCAT Bus-Type High-Voltage Servo Controller Solution Overview
· Input power range: Single-phase AC 200V–240V, ±10%, 50/60Hz
· Rated output current: 3.0Arms; maximum output current: 9.0Arms
· Speed range: ±7000rpm with field-weakening algorithm
· Speed accuracy: ±0.1% at rated speed
· Three-loop closed-loop control with static motor parameter identification
· Motor parameter retrieval via bus, linked to PID parameters
· Compatibility with various encoder protocols, supporting handshake protocols, and diverse baud rates
· Supports EtherCAT bus for position control via master station
· Multiple control modes: External pulse position control, JOG control, full closed-loop position control, speed control, and torque control
· Comprehensive fault detection: Includes overvoltage, undervoltage, overcurrent, overload, overtemperature, overspeed, main power phase loss, regenerative braking failure, position deviation, excessive braking rate, encoder feedback error, travel limits, EEPROM errors, and more.

G32R501 Real-Time Control MCU Features
·· Single-chip solution featuring an Arm® Cortex®-M52 dual-core architecture with a 250MHz main frequency. CPU0 manages position loop, speed loop, I/O status, and protocol processing, while CPU1 handles position communication, current loop, and PWM output.
·· Three PWM modules generate complementary PWM signals for high-precision motor vector control.
· Four Σ-Δ filter modules (SDF) sample two-phase current signals, improving accuracy, response efficiency, and Signal to Noise Ratio (SNR).
·· Two UARTs for bus encoder communication and data interaction with the upper-level system.
· Two SPI interfaces for high-speed communication with the EtherCAT slave chip and keyboard display.
· The I2C interface for external EEPROM communication, used for storing key servo parameters.
·· Extensive I/O interfaces for multi-scenario adaptability.

Hardware & Software Overview
The G32R501 400W EtherCAT Bus-Type High-Voltage Servo Controller Solution comprises a power board, a control board, and a keypad display board.

Software Architecture – Three-Loop Cascade Design
· Position Loop: Defines external pulse signals, bus, or I/O control, with position feedback from the external bus encoder.
· Speed Loop: Defines the output from position loop and receives analog or multi-speed input (bandwidth <400Hz), with speed feedback from encoder position calculation.
· Current Loop: Define the output from speed loop, with current feedback sampled by the SDF module (execution cycle: 62.5μs).

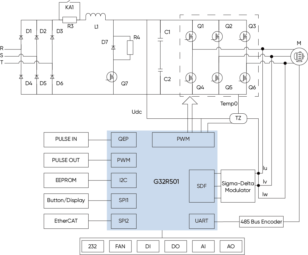
Control Logic Block Diagram
The G32R501 400W EtherCAT Bus-Type High-Voltage Servo Controller Solution is designed with a dual-core architecture, optimizing interrupt handling with CPU0 at 13.6μs and CPU1 at 8.6μs, ensuring superior performance and rich functionality for advanced product designs.

Dual-Core Processing Flow

The Geehy G32R501 400W EtherCAT Bus-Type High-Voltage Servo Controller Production-Grade Solution offers a comprehensive hardware and software design, featuring a robust set of tools for system setup, performance assessment, and secondary development. This solution includes a fully integrated servo control debugging tool for parameter setting, fault diagnosis, waveform analysis, and more.
Geehy remains committed to innovation and technological excellence, continuously advancing the industrial control sector with cutting-edge solutions and technical support. Our goal is to empower engineers and R&D teams, fostering progress in the realm of smart manufacturing and industrial automation.